經常有一些朋友跟客戶給我諫言說:“你從事包裝行業這么長時間,從
自動定量包裝機的誕生到現在,幾乎伴隨著自動定量包裝機的成長和發展,對自動定量包裝機的技術又那么精通,為什么不把這些東西寫出來讓我們這些自動定量包裝機的使用者們有一個比較深入的認識呢?”對于我而言,誠然在這個行業摸爬滾打也就二十多年,不過自動定量包裝機出現在公眾視野也就是這么多年,每一次相對大的技術改進和演變,我都一直從事著和關注著,看待自動定量包裝機從初期發展到相對成熟的過程就像自己看著自己的孩子成長過程一樣,這個“孩子”的成長過程飽含著“大人”的心血。當孩子“出嫁”到別人家,給別人家帶來歡聲笑語的同時自己也在享受著把孩子培養成“鳳”的喜悅。是“她”把我和客戶結成了“親家”,"她"就是親家之間結識聯姻的橋梁;是她讓我在人生道路上結識了天南海北的朋友;是她讓我在面對困難時因為身邊有來自五湖四海的朋友而勇敢的克服困難,笑對人生;是她讓我行走在祖國廣闊大地上任何一個陌生的地方而不感到孤獨、寂寞,能夠左右逢源;最終也是她在改變我的人生,讓我從一無所有逐步走向殷實;也還是她在我的人生道路上悄悄的改變我的軌跡。最初的選擇,她可能將陪伴我的終生。她的給與,我的付出,似乎我們之間的關系變成了伴侶。對于她,對于我,“他”就是兒子---支撐著企業這個家的藍天,讓家一直有一個希望;“她”就是女兒----架起跟客戶聯姻的橋梁;“她”就是人生的伴侶----在人生中伴隨左右,伴隨著生活的每一天;“她”也是父母-----給與我,為我生活提供經濟基礎。

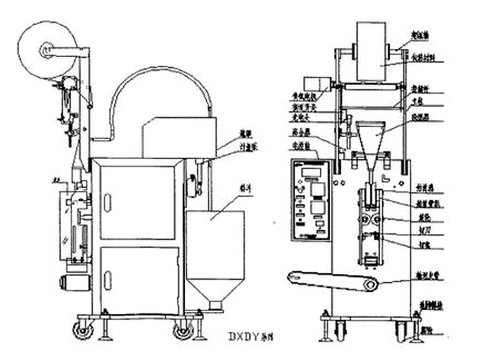
全自動定量包裝機結構解析
她,就是
包裝機,就是自動定量包裝機,粉散劑包裝機,
粉劑包裝機。她有很多別名,有的是我給起的“粉劑包裝機”,也有的是親家們給起的,也有的是未來的親家給起的"自動定量包裝機 、粉末包裝機、粉體包裝機、粉散劑包裝機”等等太多了。對了,交代一聲哦,她有很多很多孿生姐妹哦,可不是一女嫁多夫哦。
據此,我現在抽空會如數家珍般把她-自動定量包裝機從多個方面來介紹,她的每一個部分發展、每一次巨變、每一次有質的飛躍的時候都一一展現給大家,敬請大家期待,有不妥之處或"酸"雨瓢潑之時請多指教或包涵、忍耐。(本文為格特時經理親述,格特網絡部記錄整理。)